
- Voltan: AC230V±10% 50/60Hz, Fasa tunggal atau AC110V±10% 50/60Hz, Fasa tunggal
- Dimensi: (L)410mm x (W)410mm x (H)810mm
- Tekanan Udara: 6~8 kg/cm2
- Kuasa Motor: 60W
- Kapasiti: 1~2 saat setiap botol
Permohonan

- Penutup untuk penutup pelbagai botol, balang, pengabut, dsb.
- Digunakan secara meluas dalam kosmetik, minuman, kimia, perubatan, industri makanan dan lain-lain yang boleh meningkatkan produktiviti dan kualiti produk.
Spesifikasi
- Voltan: AC230V±10% 50/60Hz, Fasa tunggal atau AC110V±10% 50/60Hz, Fasa tunggal
- Dimensi: (L)410mm x (W)410mm x (H)810mm
- Tekanan Udara: 6~8 kg/cm2
- Kuasa Motor: 60W
- Kapasiti: 1~2 saat setiap botol
Spesifikasi tersuai mengikut botol pelanggan tersedia untuk memenuhi keperluan mana-mana spesifikasi botol

Ciri-ciri
- Diperbuat daripada aluminium mengeraskan anod. Tahan lasak dan jarang memerlukan servis.
- Ideal untuk pengeluaran kumpulan kecil hingga sederhana serta kegunaan makmal.
- Reka bentuk nipis menjimatkan ruang.
- Dengan kekuatan tinggi dan PU fleksibel akan melindungi penutup daripada kerosakan.
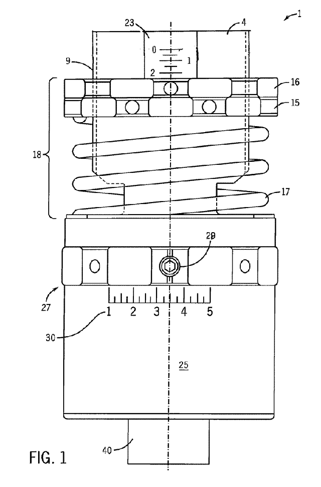
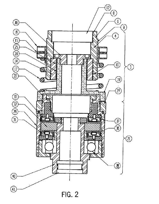
- Dengan jam randik angkat dan pelekap angin, pengendali boleh melaraskan acuan penutup dengan mudah. (Ketinggian maksimum bekas boleh 680mm)
- Dengan acuan penutup boleh tanggal / boleh tukar sesuai untuk sebarang jenis / diameter penutup yang berbeza dan mudah ditukar.

Sebutharga: FOB (Shanghai) berdasarkan sebut harga di bawah
Pakej: Setiap mesin dibalut oleh filem PO, kemudian dibungkus ke kotak kayu standard.
Utama Pengeluaran: 20 hari bekerja selepas mendapat bayaran muka 30%, bayaran 70% lagi dikutip sebelum penghantaran
Jaminan: Untuk semua mesin, ia menuntut 1 tahun untuk jaminan. (Dikecualikan daripada waranti adalah masalah akibat kemalangan, salah guna, salah guna, kerosakan penyimpanan, kecuaian, atau pengubahsuaian pada peralatan atau komponennya. Juga alat ganti yang mudah pecah tidak termasuk dalam jaminan)
Pemasangan: Selepas mesin tiba di kilang anda, jika anda perlukan, juruteknik kami akan pergi ke tempat anda untuk memasang dan menguji mesin dan juga melatih pekerja anda untuk mengendalikan mesin (masa kereta api bergantung kepada pekerja anda). Perbelanjaan (tiket penerbangan, makanan, hotel, yuran perjalanan di negara anda) harus berada dalam akaun anda dan anda perlu dibayar untuk juruteknik usd150 sehari. Anda juga boleh pergi ke kilang kami untuk melakukan latihan.
Selepas Perkhidmatan: Jika anda mendapat masalah pada mesin, juruteknik kami akan pergi ke tempat anda untuk membetulkan mesin secepat mungkin. Kos hendaklah dalam akaun anda (seperti di atas).
Panduan Untuk Belajar Mengenai Mesin Capping:
Mesin Capping digunakan untuk memasang penutup berulir plastik atau logam, penutup, penutup snap, palam dan penutup lain yang serupa pada botol atau bekas pada kelajuan rendah dan sangat tinggi. Mesin Capping bukan sahaja boleh menjimatkan masa dan wang barisan produk, Cappers juga menyumbang untuk mengekalkan ruang kerja kebersihan.
Bagaimana Mesin Capping Berfungsi?
Sistem penutup penuh termasuk corong penutup, lif penutup, pengasing penutup dan mesin penutup sebenar. Kotak penutup, penutup, palam atau penutup lain dituangkan ke dalam corong penutup. Lif penutup perlahan-lahan menyuap penutup ke dalam penutup penutup atau mangkuk pengasingan untuk meningkatkan kecekapan keseluruhan sistem penghantaran penutup.
Mangkuk pengisih digunakan untuk mengorientasikannya dengan betul sebelum menghantar penutup ke bawah pucuk ke mesin penutup untuk penempatan selamat pada botol atau bekas. Jentera england baharu juga menawarkan lif corong penyusun topi yang menghilangkan keperluan untuk mangkuk penyisihan apabila berkenaan.
Apakah Pelbagai Jenis Cappers?

Rotary Chuck Cappers – Rotary Chuck Cappers berfungsi dengan meletakkan penutup pada botol atau bekas, kemudian menghantarnya melalui mesin di mana bahagian yang bergerak memutar penutup supaya ia dimeterai dengan rapat. Bahagian terbaik tentang capper ini ialah botol atau bekas kekal dalam gerakan berterusan supaya garisan tidak perlu berhenti.
Tudung Kepala Tunggal – Tudung Kepala Tunggal adalah serupa dengan Pengapit Chuck Rotary, walau bagaimanapun, pengapit ini menghentikan sepenuhnya botol atau bekas di stesen untuk memutar penutup pada bekas sementara botol / bekas kekal tidak bergerak. Bergantung pada keperluan anda, ini boleh direka bentuk untuk sebaris, meletakkan botol anda pada penghantar utama, atau dengan roda bintang yang membawa botol atau bekas anda keluar dari garisan untuk mengunci penutup dan kemudian mengembalikannya ke garisan.
Snap Cappers/ Lidders – Snap Cappers dan Lidders selalunya menggunakan collet vakum untuk mengambil tudung dan kemudian tekan penutup snap-on atau penutup pada setiap botol atau bekas semasa ia melalui mesin.
Servo Cappers – Secara teknikalnya, mana-mana capper kami boleh dinaik taraf untuk menjadi Capper dipacu Servo. Servo ialah motor dinaik taraf yang digunakan dalam mesin capping yang dibangunkan untuk lebih fleksibiliti, ketepatan dan kecekapan. Ciri ini secara khusus menawarkan kawalan gelendong yang lebih baik, tork aplikasi yang tepat, toleransi tork yang lebih ketat dan maklum balas masa nyata kepada pengguna. Walaupun tidak diperlukan untuk setiap aplikasi, ia berfungsi sebagai manfaat besar untuk sesetengah orang.

Mengapa Saya Perlu Menghubungi VKPAK Untuk Keperluan Had Saya?
Lima sebab mudah.

KUALITI - Kami membina mesin yang boleh dipercayai, tahan lama dan berkualiti tinggi.
PENGALAMAN – Kami mengetahui teknologi dan menyediakan penyelesaian yang difikirkan dengan baik & dilaksanakan.
REPUTASI – Kami mengambil berat tentang pelanggan kami dan mereka suka memberitahu orang ramai mengenainya.
PERKHIDMATAN – Kami menyokong pelanggan kami dengan kakitangan perkhidmatan dan alat ganti yang berpengetahuan.
JAWATAN – Kami dibuat di China dan melaporkan kepada anda, pelanggan kami, bukan pemegang saham.









